Skip to content
  • News
    • TNW Conference June 19 & 20, 2025
    • All events
  • Spaces
  • Programs

  • Newsletters
  • Partner with us
  • Jobs
  • Contact
News Error 404: Page Not Found Error 404: Page Not Found Error 404: Page Not Found
  • Latest
  • Deep tech
  • Sustainability
  • Ecosystems
  • Data and security
  • Fintech and ecommerce
  • Future of work
  • Conference media hub
    • Startups and technology
    • Investors and funding
    • Government and policy
    • Corporates and innovation
    • Podcast

All Articles for

Apple Watch

The Apple Watch is Apple's entry into the wearables market – a smartwatch with its own operating system and integrated into the Apple device ecosystem. Shortly after release Apple Watch became the best-selling wearable device on the market.

Meet the Slovenian fitness tracker that won the Apple Watch ‘App of the Year’ award
  • Apple

Meet the Slovenian fitness tracker that won the Apple Watch ‘App of the Year’ award

  • Ioanna Lykiardopoulou
  • 3 years ago
This exercise armband will stop you ruining your fancy Apple Watch straps
  • Gear

This exercise armband will stop you ruining your fancy Apple Watch straps

  • Callum Booth
  • 4 years ago
Kia bets on bribing you with free stuff to secure its piece of the EV market pie
  • Marketing

Kia bets on bribing you with free stuff to secure its piece of the EV market pie

  • Ioanna Lykiardopoulou
  • 4 years ago

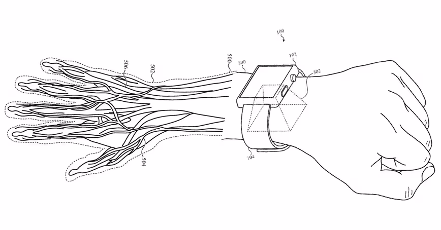
New patent hints at ‘Wrist ID’ for Apple Watch
  • Gear

New patent hints at ‘Wrist ID’ for Apple Watch

  • Callum Booth
  • 4 years ago
The Apple Watch is in full control of my pathetic life
  • Gear

The Apple Watch is in full control of my pathetic life

  • Callum Booth
  • 5 years ago
How the Apple Watch’s VO2 max score helps measure your cardio activity
  • Apple Watch

How the Apple Watch’s VO2 max score helps measure your cardio activity

  • Ivan Mehta
  • 5 years ago
Every supermarket needs an Apple Watch app
  • Gear

Every supermarket needs an Apple Watch app

  • Callum Booth
  • 5 years ago
Spotify will now allow you to stream songs directly from your Apple Watch
  • Apple

Spotify will now allow you to stream songs directly from your Apple Watch

  • Ivan Mehta
  • 5 years ago
Why hasn’t the Apple Watch design changed? We asked an expert
  • Gear

Why hasn’t the Apple Watch design changed? We asked an expert

  • Callum Booth
  • 5 years ago
The Apple Watch design is already a classic — will it ever change?
  • Gear

The Apple Watch design is already a classic — will it ever change?

  • Callum Booth
  • 5 years ago

The heart of tech


More TNW

  • Media
  • Events
  • Programs
  • Spaces
  • Newsletters
  • Jobs in tech

About TNW

  • Partner with us
  • Jobs
  • Terms & Conditions
  • Cookie Statement
  • Privacy Statement
  • Editorial Policy
  • Masthead

A Tekpon Company

Copyright © 2006—2025, Cogneve, INC. Made with <3 in Amsterdam.