Skip to content
  • News
    • TNW Conference June 19 & 20, 2025
    • All events
  • Spaces
  • Programs

  • Newsletters
  • Partner with us
  • Jobs
  • Contact
News Error 404: Page Not Found Error 404: Page Not Found Error 404: Page Not Found
  • Latest
  • Deep tech
  • Sustainability
  • Ecosystems
  • Data and security
  • Fintech and ecommerce
  • Future of work
  • Conference media hub
    • Startups and technology
    • Investors and funding
    • Government and policy
    • Corporates and innovation
    • Podcast

All Articles for

Sensor

The iPhone 13 Pro will reportedly get ultra-wide autofocus for better landscape shots
  • Camera

The iPhone 13 Pro will reportedly get ultra-wide autofocus for better landscape shots

  • Ivan Mehta
  • 4 years ago
Tesla loses NHTSA safety recognition after removing radar
  • Tesla

Tesla loses NHTSA safety recognition after removing radar

  • Matthew Beedham
  • 4 years ago
Xiaomi’s new Mi 11 Ultra features the biggest camera sensor in a smartphone
  • Xiaomi

Xiaomi’s new Mi 11 Ultra features the biggest camera sensor in a smartphone

  • Ivan Mehta
  • 5 years ago

This cute AI pet will fill the deep, dark void in your life
  • Algorithm

This cute AI pet will fill the deep, dark void in your life

  • Thomas Macaulay
  • 5 years ago
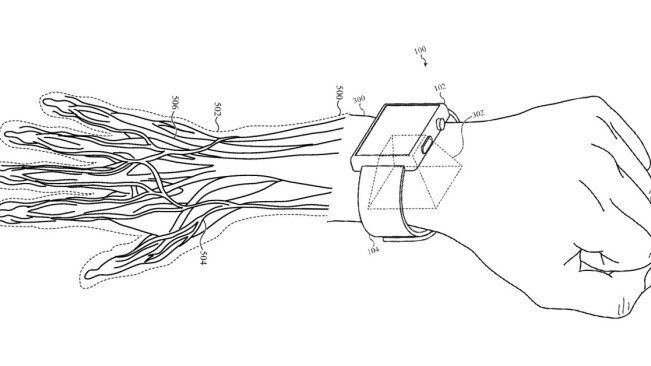
New patent hints at ‘Wrist ID’ for Apple Watch
  • Gear

New patent hints at ‘Wrist ID’ for Apple Watch

  • Callum Booth
  • 5 years ago
Thermal cameras tracked Hamburgers on bikes in 2020 — here’s what they found
  • Cycling

Thermal cameras tracked Hamburgers on bikes in 2020 — here’s what they found

  • Cities Today
  • 5 years ago
Cities are betting big on smart streetlights — 23% will be connected by 2030
  • Infrastructure

Cities are betting big on smart streetlights — 23% will be connected by 2030

  • Cities Today
  • 5 years ago
How high-end cameras and algorithms are making escooters safer
  • Algorithm

How high-end cameras and algorithms are making escooters safer

  • Cities Today
  • 5 years ago
AI co-pilots US Air Force spy plane for the first time
  • Algorithm

AI co-pilots US Air Force spy plane for the first time

  • Thomas Macaulay
  • 5 years ago
Oppo will launch AR glasses with gesture control in 2021
  • Augmented reality

Oppo will launch AR glasses with gesture control in 2021

  • Ivan Mehta
  • 5 years ago

The heart of tech


More TNW

  • Media
  • Events
  • Spaces
  • Newsletters

About TNW

  • Partner with us
  • Terms & Conditions
  • Cookie Statement
  • Privacy Statement

A Tekpon Company

Copyright © 2006—2026, Cogneve, INC. Made with <3 in Amsterdam.