Skip to content
  • News
    • TNW Conference June 19 & 20, 2025
    • All events
  • Spaces
  • Programs

  • Newsletters
  • Partner with us
  • Jobs
  • Contact
News fintech ecommerce fintech ecommerce fintech ecommerce
  • Latest
  • Deep tech
  • Sustainability
  • Ecosystems
  • Data and security
  • Fintech and ecommerce
  • Future of work
  • Conference media hub
    • Startups and technology
    • Investors and funding
    • Government and policy
    • Corporates and innovation
    • Podcast

All Articles for

Foldable Iphone

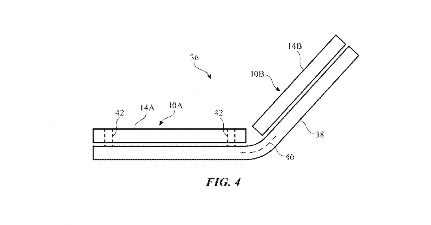
Report: Apple is building foldable iPhone prototypes
  • Gear

Report: Apple is building foldable iPhone prototypes

  • Napier Lopez
  • 5 years ago

The heart of tech


More TNW

  • Media
  • Events
  • Programs
  • Spaces
  • Newsletters
  • Jobs in tech

About TNW

  • Partner with us
  • Jobs
  • Terms & Conditions
  • Cookie Statement
  • Privacy Statement
  • Editorial Policy
  • Masthead

A Tekpon Company

Copyright © 2006—2026, Cogneve, INC. Made with <3 in Amsterdam.