
It’s been a pretty busy day for Apple news. After reports that the company would remove the touch bar and rienstate MagSafe on its upcoming MacBook Pros, as well as launch redesigned iMacs with an all new design, a new report from Bloomberg claims that Apple is actively working on a foldable iPhone.
While the report stresses the company “hasn’t solidified plans to actually launch a foldable iPhone,” the company has started work on some prototypes in its lab. At the moment the prototype “hasn’t expanded beyond a display,” but that’s the most important part of a folding phone, right?
The report claims Apple has discussed a variety of folding screen sizes, including a 6.7-inch one akin to the Motorola Razr or Galaxy Z Flip — a small phone that unfolds into a phone the size of the iPhone 12 Pro Max. This is in contrast to the more tablet-like Galaxy Fold, although it’s certainly possibel Apple is working on larger sizes as well.
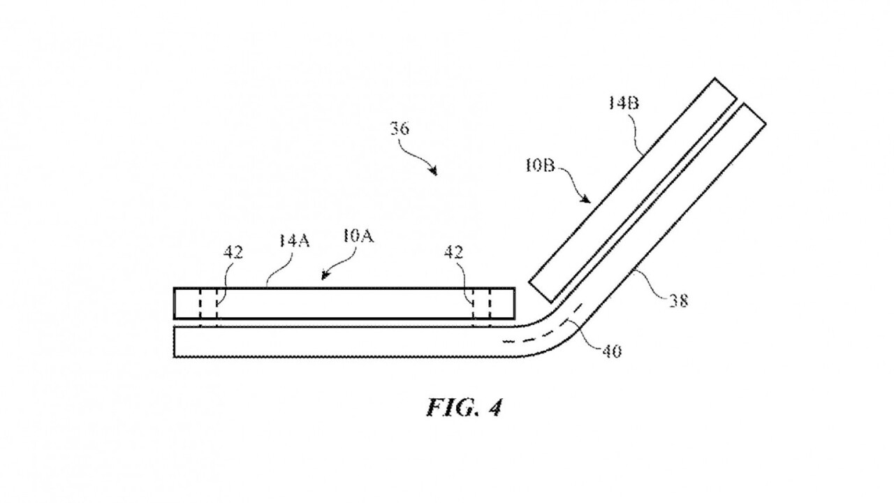
A few months ago, we reported on Apple patents relating to a potential folding iPhone with separate but seamless displays. It’s not clear what type of technology the current prototype is using, but I find it hard to believe Apple would release a folding phone as prone to scratches as existing ones.
Foldable phones typically require a plastic top layer rather than glass, making the displays extremely easy to scratch. Models with two separate panels, like the Surface Duo, do not have this limitation, but do not allow for a continuous display that would allow you to view photos and images on a larger, uninterrupted Surface area. If Apple could find a way to create a more durable flexible display or seamless separate displays, it could be the company to bring folding phones into the mainstream.
That said, it’s worth repeating that a foldable iPhone is just a possibility, not a given. It’s not surprising that a company with Apple’s resources would at least try to make a folding phone that fits its design goals. Whether that can actually be achieved in a reasonable timeline is another matter. If a foldable iPhone ever does arrive, it might not be for a few years.
Folding phones aside, the report had several more interesting tidbits:
- Apple isn’t planning major changes for this year’s iPhone, and that the team is discussing dubbing the next model an ‘s’ version of the phone.
- The company plans to launch its “AirTags” item tracker this year after it was delayed due to coronavirus.
- The company is considering returning to fingerprint readers — specifically, in-screen fingerprint readers, as seen in so many Android phones. It hasn’t given up on Face ID, but in a world where so many people are wearing masks, Face ID becomes less effective and reliable.
- The company has “discussed removing the charging port for some iPhone models in favor of wireless charging.” We’ve been hearing rumors about this for some time now, the mythical portless iPhone.
- The next iPad Pro is expected to look similar to the current model but feature a MiniLED panel for improved contrast that better approximates OLED displays. It’s also expected to sport a “much faster processor.”
You can read the full report at the source link below.
Get the TNW newsletter
Get the most important tech news in your inbox each week.