
The next generation of Apple’s Magic Mouse may have Force Touch, according to a recently discovered patent.
Apple’s latest trackpad for the desktop already has Force Touch, but the Magic Mouse is still lacking the feature. In the patent, we find two new pieces of hardware that are specifically mentioned for use in Force Touch.
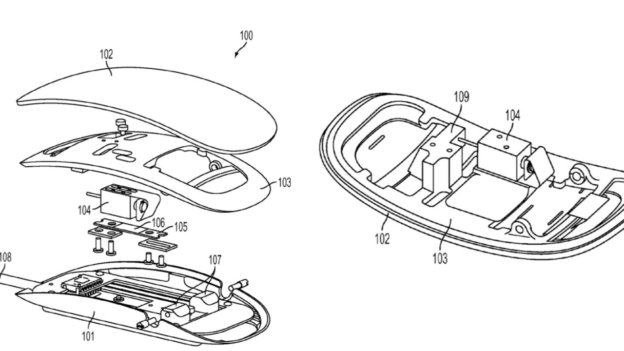
In the image above, both parts 109 and 104 are used in Force Touch. While 109 exerts pressure on a cantilever to register forceful touches, part 104 is there to read just how hard your finger is pressing down.
Anyone fond of Force Touch knows how handy it can be in your workflow — once you train yourself to use it. For those who prefer a mouse to the trackpad, Force Touch will be a welcome addition to the mix.
Of course, it’s not clear when Apple would update the Magic Mouse with Force Touch — but we’d have to think it’d come soon. Hopefully, it arrives with new MacBooks at WWDC or in the Fall.
via Patently Apple
Get the TNW newsletter
Get the most important tech news in your inbox each week.