
Owners of an iPod or iPhone could soon find themselves with a pair of perfect tangle-free white headphones after the Cupertino-based company secured the patent that licenses the “cable structure for preventing tangling”.
Apple filed for the patent in November 2010, requesting the rights to an idea that would allow Apple to vary the rigidity of a headphone cable to reduce or help the bending of it in certain places.
The abstract reads:
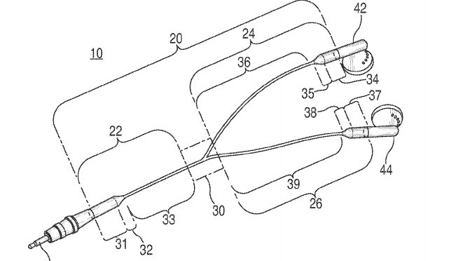
This is directed to a cable structure for use with an electronic device. The cable structure can include one or more conductors around which a sheath is provided. To prevent the cable structure from tangling, the cable structure can include a core placed between the conductors and the sheath, where a stiffness of the core can be varied along different segments of the cable structure to facilitate or hinder bending of the cable structure in different areas. The size and distribution of the stiffer portions can be selected to prevent the cable from forming loops. The resistance of the core to bending can be varied using different approaches including, for example, by varying the materials used in the core, varying a cross-section of portions of the core, or combinations of these.
Apple’s team have effectively identified a way of introducing a core in-between the outer casing and the headphone wire, adapting the stiffness of the core to prevent the cable from forming loops. Pretty interesting idea, whether Apple would be able to implement such a solution remains to be seen.
As with all patents, companies may just protect the idea, without actually putting it into production. As an iPhone owner and a regular user of Apple earbuds (audiophiles, it’s my choice), I would welcome such an advancement.
Get the TNW newsletter
Get the most important tech news in your inbox each week.